【寄售】高仿新币防骗助手机器人源码/新币仿骗助手机器人源码/带教程
源码是本人1:1仿照新币防骗助手所写
群组授权使用
管理员严格模式控制面板
转发消息限制✅
消息长度限制✅
禁止链接限制✅
进群验证功能✅
欢迎语✅
以上功能均可在严格模式面板中开启
后台功能:
自定义添加授权群组使用✅
自定义验群回复消息(支持HTML)✅
自定义群组“地址回复”(支持精准匹配和模糊匹配)✅
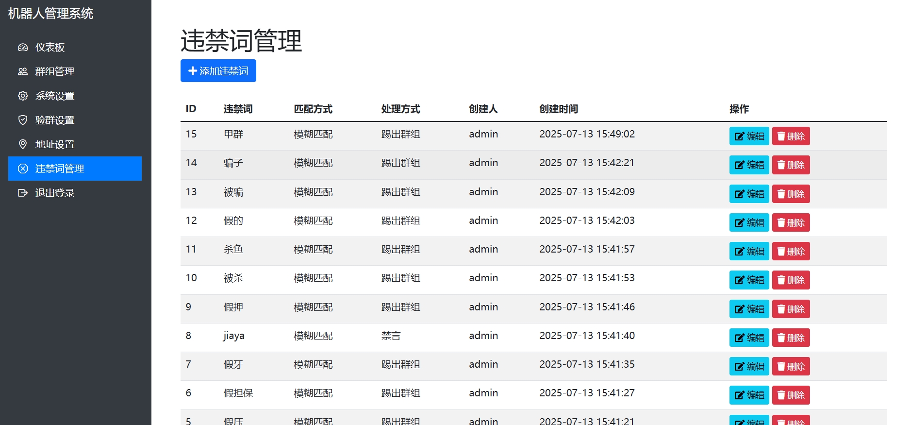
全局违禁词添加(支持模糊匹配和精准匹配,踢出群组或者禁言)✅
自定义各种按钮✅
所有机器人回弹消息均可在配置文件修改支持html✅
和之前发布的 “【寄售】高仿新币担保报备机器人源码/新币机器人源码”产品打包出售
打包价688
会员价488

声明:本站所有文章,如无特殊说明或标注,均为本站原创发布。任何个人或组织,在未征得本站同意时,禁止复制、盗用、采集、发布本站内容到任何网站、书籍等各类媒体平台。如若本站内容侵犯了原著者的合法权益,可联系我们进行处理。

